宫颈癌综合治疗三年后
出现血尿伴尿失禁
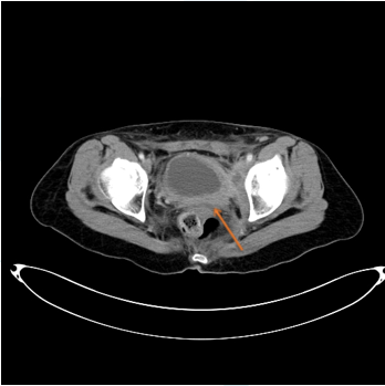
盆腔内膀胱后方有不规则软组织影
膀胱壁不均匀增厚
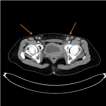
左侧髂内外血管旁、双侧腹股沟区
还有肿大淋巴结
是宫颈癌复发了吗?
前段一时间,广州复大肿瘤医院医疗六科便收治这样一位患者,该患者被外院诊断为局部复发,并建议其进行化疗,但是患者拒绝了。为进一步诊疗,患者来到我院就医。


影像报告
“来院之后,我们便安排膀胱镜检查了解膀胱壁增厚情况,同时取活检进一步明确诊断。”我院医疗六科副主任李红梅表示,活检提示病变符合(膀胱)粘膜慢性炎,伴急性发作,未见癌。这就意味着膀胱恶性肿瘤诊断不成立。
但由于患者双侧腹股沟淋巴结及左侧髂血管旁淋巴结肿大,为此,我院为其安排了B超引导下双侧腹股沟淋巴结以及膀胱肿瘤活检术,进一步协助诊断。所幸结果显示均未见恶性肿瘤性病变。而根据我院影像资料、多次活检病理结果,暂不考虑患者是肿瘤复发。这个结果可把患者高兴坏了,也对医院很感激。
此外,针对患者丙肝、尿失禁、左大腿乏力的问题,我院给予药物及中医理疗对症治疗,并提醒其定期复查,继续观察病情变化。李主任提醒,既往肿瘤病史明确的患者,复诊过程中如出现影像学改变或肿瘤指标升高,不一定意味着肿瘤转移复发,应尽量行活检明确性质,综合分析各种可能性,不可贸然行抗肿瘤治疗,以防出现此类情况,给患者带来负面影响。同时也要重视患者合并症的治疗,提高患者的生活质量。
医学知多点膀胱炎与膀胱癌如何鉴别?
膀胱炎和膀胱癌都是发生在膀胱的病变,也是泌尿系统比较常见的疾病。但膀胱炎属于良性疾病,而膀胱癌属于恶性疾病,两者有着本质的区别。
膀胱炎的症状主要表现为尿频、尿急、尿痛,甚至出现血尿,多发于中老年的女性。在治疗方面,膀胱炎的治疗是相对比较简单,给予抗炎治疗和抗生素治疗,一般就能起到不错的效果。
虽然膀胱炎有时也会反复发作,但是始终是个良性的疾病,一般情况下,不会对患者造成生命威胁。有些特殊类型的膀胱炎可能需要进行手术治疗,如腺性膀胱炎和间质性膀胱炎。其中腺性膀胱炎还有恶变的可能,需要提高警惕,定期进行复查。
而膀胱癌是一种恶性疾病,发展到了一定程度,会对患者产生生命威胁。膀胱癌主要的症状是无痛性肉眼血尿,需要早期诊断并将肿瘤切除干净,才能达到比较好的效果。

膀胱癌的特点是容易复发,术后还需要采取各种措施降低肿瘤的复发率。如果膀胱癌没有早期干预,发展到晚期时,治疗的难度更大,患者面临的生命危险也更大。为此,当出现尿频、尿急、尿痛,甚至血尿,应及时到正规的专科医院就诊,防止错过治疗时机。


